昨天我在群里发每日一题解析的时候,举了球面反射镜使球差为0的一个特殊情况,有一位粉丝问分光是如何实现的。在光学设计的各个领域中,对光束进行分束是一个非常常见的操作,本期文章我就简单谈谈几种常见的分束方法。这个问题有些大,也很难讲得全面,只作为抛砖引玉,希望本文能对各位读者有所帮助。
一、利用对偏振的调控实现
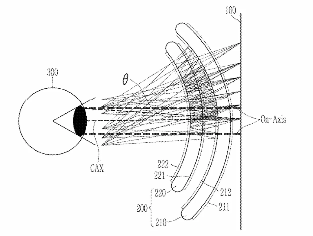
昨天我在群里发每日一题解析的时候,举了球面反射镜使球差为0的一个特殊情况,有一位粉丝问下面这个图中,光是如何实现在一个元件上分别表现为反射和透射的。其实我之前在介绍波片的时候提到过一种pancake镜头,可以利用波片对偏振态的调控加偏振分光膜实现类似的效果。

【光学知识】波片在光学系统中的应用||之晓光学
波片是一种重要的光学元件,工作时通过在正交偏振分量之间引入相位差来调控光的偏振状态。波片由双折射材料(如石英、方解石或云母)制成,它利用了双折射的特性——即沿两个垂直轴(称为快轴和慢轴)偏振的光存在不同的折射率。这一固有特性使波长板能够精确控制偏振光在光学系统中的传播。本质上,我们可以说波片是一种晶体位相器件。
我们可以在美国专利局的网站上检索一下,就可以看到若干相关的光学设计结果,例如下面这个,利用了光多次通过同一个元件的不同位置,实现了成像元件的简化。

上图的中的221和222为光学薄膜,221起到四分之一波片的作用,222起到光分束器的作用,通过对光偏振态的调控和组合,使得光可以在元件之前多次反射或透射。目前这种偏振使用方式已经非常常见和成熟了。
二、利用对波长的调控实现
说到多色光学系统和分束,其实最常见的是下面这种情形。即使用倾斜放置的平板玻璃,玻璃板表面镀膜,使一束光反射,一束光透射,两束光对应的波长范围并不一致。
【成像光学基础】平板玻璃会引入像差吗

但是我之前也分析过倾斜放置平板玻璃的问题,即引入的非对称性像散并不容易通过回转对称的透镜组校正,那么在这个的基础上稍作修改,也可以把平板玻璃改为棱镜,从而避免这个问题。

但无论采用什么光学元件,这一类分束方法的本质是使不同的波长表现出不同的行为。
【薄膜光学的物理基础】
【薄膜光学必备】——递推法计算光学薄膜特性
三、利用对衍射的调控实现
如果大家接触过激光应用或光通信系统,应该听过一个叫做波分复用的词,即把一束光分成多束,再合并进一根光纤进行传输。在这类应用场景中,各类空间光调制器是非常常见的。例如SLM,液晶空间光调制器,用于调制光束的相位、振幅或偏振状态。液晶SLM基于液晶材料的电光效应,通过外加电压控制液晶分子的排列,从而改变入射光的相位或振幅。

另一类更常见的器件是衍射光栅,例如最基础的余弦光栅,可以将能量集中在几个衍射级上,从而实现分束。对于激光应用,达曼光栅也非常常用。可以使分束后的每个通道能量近似一致。


这一类分束方法主要是基于衍射效应,实现的对光场的调制,随着微纳加工技术的进步,这类方法可以说具有更高的灵活性和应用前景。
【未来镜头发展方向-微纳光学技术概述】
四、总结
光学分束技术在现代光学设计和应用中扮演着重要角色。通过调控光的偏振、波长和衍射特性,我们可以实现多样化的分束效果,满足不同应用场景的需求。偏振调控分束利用波片和偏振分光膜,实现了光在同一个元件上的反射和透射;波长调控分束通过光学薄膜或棱镜,使不同波长的光沿不同路径传播;衍射调控分束借助空间光调制器和衍射光栅,实现了光束的灵活分配。
文中提到的这三类方法对应的底层物理原理不同,除了这些当然也有其他的分束方法,这些方法不仅丰富了光学系统的设计手段,还为光学领域的创新应用提供了广阔的空间。希望本文的介绍能够帮助读者更好地理解和应用光学分束技术,在实际工作中取得更好的成果。