偏振是光的基本特性,在各种光学系统中起着至关重要的作用。从成像到通信,甚至在基于激光的技术中,控制和操纵光的偏振状态的能力带来了突破性的进步。在偏振控制的众多工具中,各类波片是用途广泛、不可或缺的元件。本文中我将尝试介绍了波片的基本概念和分类,并深入探讨其工作原理,希望本文能对各位读者有所帮助。
一、什么是波片
波片是一种重要的光学元件,工作时通过在正交偏振分量之间引入相位差来调控光的偏振状态。波片由双折射材料(如石英、方解石或云母)制成,它利用了双折射的特性——即沿两个垂直轴(称为快轴和慢轴)偏振的光存在不同的折射率。这一固有特性使波长板能够精确控制偏振光在光学系统中的传播。本质上,我们可以说波片是一种晶体位相器件。
波片工作的基本特征是它所产生的相移,而相移则由其材料特性和物理厚度决定。二者之间的关系用公式描述如下:

根据波片引入的相位差不同,一般最常见的是二分之一波片和四分之一波片。四分之一波片会产生(Π/2)的相移,将线性偏振光转化为圆偏振光,若输入的是圆偏振光,则变换为线偏振光。而半波片产生的相移为Π,若ψ表示输入偏振光与波板快轴之间的夹角,则半波片会将线性偏振光的偏振方向旋转2ψ,即输入偏振光与快轴间夹角的两倍。
四分之一波片和半波片的区别不仅在于它们的数学描述,还在于它们不同的光学特性和应用。四分之一波片通常用于将线性偏振光转换成圆偏振光,反之亦然,因此可用于各类偏振器、光分束器和通信系统。相比之下,半波片主要用于旋转线性偏振光的偏振方向,因此在基于偏振的光束转向和光学对准中不可或缺。除了这两个特定的位相关系,有时偏振光学系统中还会使用补偿波片,例如偏振光经过复杂光学系统的传输,特别是包含棱镜的系统,偏振态也会产生一定变化,这时可能需要使用定制的补偿偏振片。
波片的一个重要性能指标是消光比,它可以量化波片在维持偏振状态方面的功效。消光比的定义是平行和垂直于预定偏振方向的偏振光的透射强度之比,即通光方向和消光方向的光强之比。理想的偏振器件的消光比为无穷大,但材料的不均匀性、残余应力和加工的误差使实际器件的消光比下降。一般高性能波片的消光比可以超过10000:1。

Edmund公司各类波片产品
二、波片的数学描述方法——琼斯矩阵
在涉及到光的偏振时,我们不得不用矢量去描述光场,例如对于线性偏振输入波,琼斯矢量的计算公式为:

波片的位相调制作用可以用琼斯矩阵表示,琼斯矩阵包含了全部的偏振信息。通过其琼斯矩阵作用于入射光的琼斯矢量,从而引入相位差。例如作用于入射光后,输出偏振光的矢量为:

各类波片的琼斯矩阵如下表所示,该表中的结果推导过程较为复杂,我直接放了参考书中的截图,大家感兴趣可以自行查阅一下。

三、波片在实际光学系统中的应用
从实用的角度,波片光学系统中扮演着重要角色,其应用涵盖了从科研到工业的各个领域。
例如,波片常用于调整和优化激光输出的偏振态。例如,在半导体激光器中,线偏振光的方向可能需要调整以适应外部光学系统或匹配特定的偏振敏感元件。二分之一波片通过旋转偏振角,可以精确地调整激光器输出偏振方向,确保与后续光学元件的兼容性。此外,在光纤激光系统中,波片被用来控制和补偿偏振态,从而减少去偏振效应,提高传输效率。
再比如在光学通信系统中,偏振态的控制和保持对于高速信号传输至关重要。波片通过消除光纤中的偏振模色散(PMD)和偏振相关损耗(PDL),能够显著提高信号质量。此外,波片在偏振复用技术中也发挥重要作用,通过精确控制偏振态,实现多个信号通道的分离和复用。
随着技术的进步,通过镀膜也可以实现类似于波片的作用。光学仪器设计在消费电子领域的一个热点是AR及VR设备,这类镜头往往要求与人眼匹配的同时,尽可能地轻量化。因此,有人提出使用一类panckae形状的超薄光学系统进行投影。在这类pancake镜头中,就涉及到波片的应用。
这类超薄光学系统的特点在于通过折叠光路,在最小的物理尺寸内实现高性能成像。Pancake镜头通过巧妙利用反射和偏振操控元件而实现了这一目标,而波片在其中是不可或缺的。
Pancake镜头依赖于偏振相关的光反射原理。在典型的设计中,线偏振光进入系统后会穿过一系列反射和折射元件。每次反射都发生在偏振选择性表面(如偏振分束器,PBS)上,这需要特定的偏振态以实现高效的光线管理。波片通过调整光的偏振态,使其与后续光学元件的需求保持一致,从而成为系统中的关键组件。

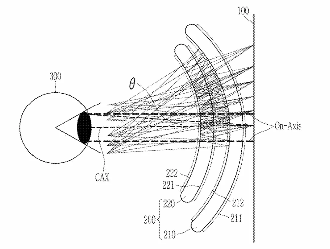
我们可以在美国专利局的网站上检索一下,就可以看到若干相关的光学设计结果,例如下面这个,利用了光多次通过同一个元件的不同位置,实现了成像元件的简化。


上图的中的221和222为光学薄膜,221起到四分之一波片的作用,222起到光分束器的作用,通过对光偏振态的调控和组合,使得光可以在元件之前多次反射或透射。目前这种偏振使用方式已经非常常见和成熟了。
四、总结
偏振是光的一个重要特性,在现代光学系统的设计和应用中不可或缺。无论是在科学研究、工业生产,还是消费电子领域,波片都凭借其独特的偏振调控能力,成为了各种光学系统中的关键组件。从基本的偏振态调整到复杂的光学系统优化,波片在精密仪器、通信技术、激光加工等方面的应用已无处不在。
本文首先介绍了波片的基本概念和分类,并以琼斯矩阵的数学工具揭示了其核心工作原理。随后,通过激光器、光通信系统及先进的Pancake镜头的实际应用实例,展示了波片在光学系统中的重要地位。这些案例不仅体现了波片在传统光学设计中的作用,也展望了其在新兴领域中的应用潜力。